Unterstützung und Beratung unter: +49 7034 9929 48 Mo-Fr, 09:00 - 17:00 Uhr
Oder über unser Kontaktformular.
- Schnell und unkompliziert
- Fachkompetente Beratung für Ihren professionellen kältetechnischen Bedarf
- Top Preise für Premium-Qualität
- Deutscher Maschinenbauer mit eigener Fertigung und mehr als 30 Jahren Erfahrung in der Branche
Dixell Kühlstellenregler XR30D-5P0C0 (ohne Fühler) XR30D
121,90 €
Sofort verfügbar, Lieferzeit: 1-4 Werktage
Produktinformationen "Dixell Kühlstellenregler XR30D-5P0C0 (ohne Fühler) XR30D"
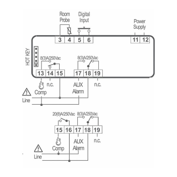
Der Dixell Kühlstellenregler XR30D-5P0C0 weißt über 2 Relais-Ausgänge und 1 PTC- bzw. NTC Fühler-Eingang zur Erfassung der Raumtemperatur auf. Ein Relais für den Verdichter, das Zweite ist konfigurierbar als Alarm-Relais oder Hilfsrelais. Zyklische Abtauungen durch Verdichterstopp. HOT-KEY Anschluss (Parameterspeicher) (nicht im Lieferumfang!).
EIGENSCHAFTEN
· Innovative digitale Regler für Normal- und Tiefkühlung
· Direkte Stromversorgung 230 (110) Vac, kein externer Trafo erforderlich
· Verdichter-Relais 20A für Leistungen bis 1,2HP
· Hauptvariable bereits vorprogrammiert, leichte Programmierung der Parameter
· Tastensperre, Alarmmeldung (optisch, Relais oder akustisch)
· Hilfsrelais wird durch Tastatur oder digitale Eingänge aktiviert
· Max. Leistungsaufnahme: 3VA
· Display mit roten LED (13,2mm)
TECHNISCHE DATEN
| Gehäuse |
ABS selbstverlöschend |
| Fühlertyp | PTC / NTC |
| Fühler Lieferumfang | - |
| Messbereich Fühler | PTC: -55 ... +150°C NTC: -40 ... +110°C |
| Auflösung | 0.1°C |
| Fühler Eingänge | 1 Stück |
| Digitale Eingänge | potentialfrei |
| Relais | 2 Stück |
| Spannungsversorgung |
230Vac |
| Arbeitstemperatur | 0 ... 60°C |
| Montage | Tafeleinbau-Gerät für Ausschnitt 29x71 mm. |
| Anschlüsse | Schraubklemmen für Leiterdurchmesser ≤ 2,5mm2 |
| Leistungsaufnahme | 3 VA max. |
| Anzeige | drei Ziffern, LED rot, Höhe: 14,2mm |
| Genauigkeit bei 25°C |
±0,7°C ±1 Ziffer |
| Datenspeicherung | EEPROM |
| relative Feuchte | 20-85% (ohne Kondensierung) |
| Frontschutzart | IP20 |
| Abmessungen | 4-DIN Modul 70x85mm, Tiefe: 61mm |
| Anzahl Fühlereingänge: | 1 |
|---|---|
| Anzahl digitale Eingänge: | 1 |
| Fühler_Eingänge: | 1 |
| Kaeltemittel: | R404A, R407C, R507 |
| Kompressor-Leistungsaufnahme: | 500 - 750 W |
| Kompressor-Stromaufnahme: | 2 - 4 A |
| Leistung: | 1000 - 1500 W |
| Regler Typ: | Kühlstellenregler |
| Relais: | 2 |
| Versorgungsspannung: | 230V AC |
| möglicher Fühlertyp: | NTC, PTC |
0 von 0 Bewertungen
Durchschnittliche Bewertung von 0 von 5 Sternen
Anmelden